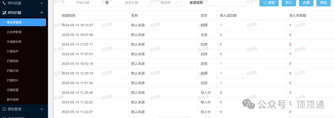
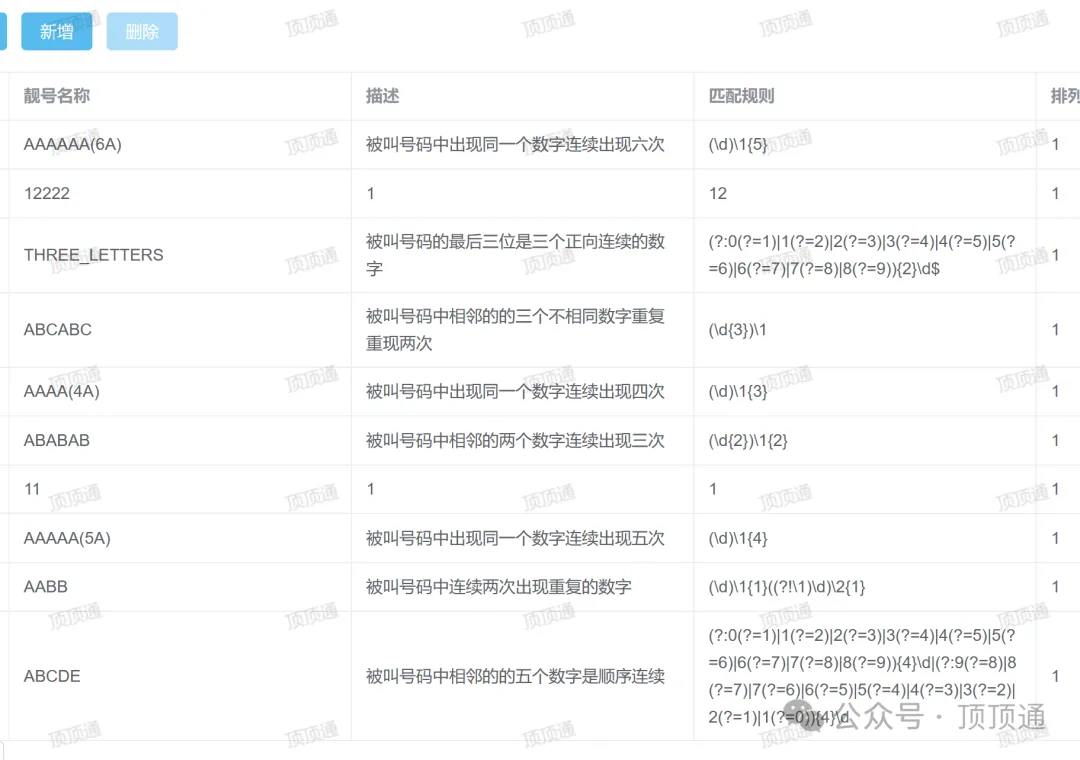
顶顶通黑名单系统介绍 顶顶通黑名单系统介绍注意:顶顶通黑名单系统,不提供任何黑名单数据,黑名单数据需要用户自行收集。 黑名单管理,可以批量导入,停用启用。 自动收集上游黑名单,积累自己的黑名单数据库。可设置缓存时间,减少调用量。比如设置了缓存1天,同一个号码1天内只调用上游黑名单一次,降低调用成本。 支持任意超频规则,可不同的业务设置不同的超频规则。支持不同业务独立或者共享超频次数。 可自定义靓号规则,可通过正则表达式,定义任意靓号规则。 多租户支持,支持按次计费、按套餐计费。